Samsung ला सकता है रोटेटिंग कैमरा मॉड्यूल वाले फोल्डेबल फ़ोन, जानें क्या होगी खासियत

Join Us icon

स्मार्टफोन मेकर कंपनियां फ़ुल स्क्रीन एक्सपीरियंस के लिए पिछले काफ़ी समय से फ़्रंट कैमरा को लेकर काफ़ी एक्सपेरिमेंट कर रही हैं। कंपनियां फ्लिप कैमरा मॉड्यूल, पॉप अप कैमरा मॉड्यूल और रोटेटिंग कैमरा मॉड्यूल के साथ स्मार्टफ़ोन लॉन्च कर चुकी हैं। लेकिन अब तक किसी भी कंपनी ने इस तरह के कैमरा मॉड्यूल अपने फोल्डेबल स्मार्टफ़ोन के साथ पेश नहीं किए हैं। ख़बरों की माने तो सैमसंग एक अनोखे कैमरा मॉड्यूल के साथ फोल्डेबल स्मार्टफ़ोन लॉन्च कर सकता है। सैमसंग ने अपने फोल्डेबल स्मार्टफ़ोन का एक पेटेंट वर्ल्ड इंटेलेक्चुअल प्रॉपर्टी आर्गेनाइजेश (WIPO) में पेश किया है। इस पेटेंट से पता चलता है कि इस फ़ोन में रोटेटिंग कैमरा सेटअप दिया जा सकता है। इससे पहले सैमसंग ने साल 2019 में Galaxy A80 स्मार्टफ़ोन को रोटेटिंग कैमरा मॉड्यूल के साथ पेश किया था। यह भी पढ़ें : Samsung ने भारत में Galaxy Tab S7 FE और Galaxy Tab A7 Lite की कीमत से उठाया पर्दा, 23 जून से शुरू होगी बिक्री

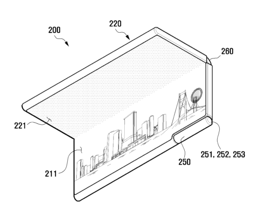
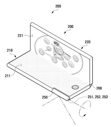
सैमसंग के फोल्डेबल फ़ोन का पेटेंट

सैमसंग ने जो पेटेंट फाइल किया है उसमें रोटेटिंग कैमरा सेटअप देखने को मिल रहा है। यह कैमरा मॉड्यूल 180 डिग्री तक रोटेट हो सकता है। यानी यह इस फोन में फ़्रंट और बैक के लिए यहीं कैमरा सेटअप दिया जाएगा। इस पेटेंट से पता चलता है कि यह दो हाउसिंग्स और हिंज का स्ट्रेक्चर है। यह रोटेटिंग कैमरा मॉड्यूल एक स्ट्रेक्चर से अटैच है जो कि इस फोन के फ्रेम से जुड़ा हुआ है। यह कैमरा मॉड्यूल फोन के दाएं फ्रेम में अटैच है।

इस पेटेंट से पता चलता है कि इसमें मोशन सेंसर और फोल्डिंग एंगल सेंसर दिया गया है जिसे यह कैमरा सेटअप डिवाइस के पोस्चर को पहचान लेता है। फोन को फोल्ड किए जाने पर यह फोल्डिंग एंगल को पहचान कर कैमरा ऐप ओपन होते ही खुद को एडजेस्ट हो जाता है। फोल्डेबल स्मार्टफ़ोन में कंपनियां काफ़ी जटिल टेक्नोलॉजी यूज करती हैं और यूज़र्स इन डिवाइसेस को काफ़ी ध्यान से यूज करने के निर्देश देती हैं। ऐसे में फोल्डेबल स्मार्टफ़ोन में स्टिंग कैमरा मॉड्यूल देने के बाद इन्हें यूज करने में काफ़ी सावधानी बरतने की ज़रूरत होगी।

Source – My Smart Price

LEAVE A REPLY
Please enter your comment!
Please enter your name here