
Samsung Galaxy Fold और Galaxy Z Fold 2 फोल्डेबल स्मार्टफोन के साथ कंपनी ने इस सेग्मेंट में बेंचमार्क स्थापित किए हैं। सैमसंग पिछले काफी समय से फोल्डेबल स्मार्टफोन मार्केट को लीड कर रहा है। अब कंपनी अपने अपकमिंग फोल्डेबल स्मार्टफोन को नए फ्यूचरिस्टिक फीचर्स के साथ लॉन्च कर सकती है। यहां हम Samsung Galaxy Z Fold 3 स्मार्टफोन की बात कर रहे हैं, जिसे लेकर अटकलें है कि यह स्मार्टफोन अंडर डिस्प्ले कैमरा के साथ पेश किया जाएगा। यानी इस स्मार्टफोन में कैमरा सेंसर के लिए पंच होल कटआउट नहीं दिया जाएगा। अब इस स्मार्टफोन को लेकर नई जानकारी सामने आ रही है जिसमें कहा जा रहा है कि इसमें फिजकल बटन नहीं दिए जाएंगे। 91mobiles के पास इस स्मार्टफोन के पेटेंट जिसमें दिख रहा है कि Samsung Galaxy Fold के डिजाइन को लेकर नई जानकारी सामने आ रही है जिसमें साइड में बटन के बदले टच दिया जा सकता है।
Samsung Galaxy Z Fold 3 में नहीं होंगे बटन
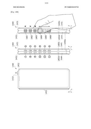
सैमसंग के अपकमिंग स्मार्टफोन Galaxy Z Fold 3 को पेटेंट की बात करें तो इसमें फोल्डेबल डिजाइन के साथ साइड में फिजिकल बटन नहीं दिए जाएंगे। सैमसंग ने Galaxy Fold स्मार्टफोन में फिजिकल बटन दिए थे। इन बटन को दबाने में लगे फोर्स के चलते स्मार्टफोन के हिंज डैमेज हो गए थे। इस प्रोब्लम को सॉल्व करने के लिए संभवत: कंपनी ने Galaxy Z Fold 3 स्मार्टफोन से फिजिकल बटन रिमूव करके टच बटन दिए हो। यह भी पढ़ें : Google Pixel 6 Pro स्मार्टफोन का लॉन्च से पहले सामने आया डिजाइन, देखें Photos
पेटेंट इमेज से पता चलत है कि सैमसंग के इस फोल्डेबल फोन के दोनों फ्रेम में टच आधारित बटन दिए गए हैं। जब यह डिवाइस फोल्ड होता है तो दोनों ओर दिए टच बटन से यूजर्स वॉल्यूम बढ़ाना घटाना, फोन लॉक अनलॉक करने जैसे टास्क कर सकते हैं। फिजिकल बटन हटाकर सैमसंग ने यूजर्स को वर्चुअल बटन के जरिए ज्यादा एरिया और ज्यादा कम्फर्ट देने की कोशिश कर रही है। यह भी पढ़ें : सबसे पावरफुल प्रोसेसर और 6GB रैम के साथ आ रहा Samsung का नया और धमाकेदार फोन, जानें इसके बारे में
पेटेंट से अनुमान लगाया जा रहा है कि टच आधारित बटन Samsung Galaxy Z Fold 3 और Galaxy Z Flip स्मार्टफोन में दिए जा सकते हैं। हालांकि इसे लेकर सैमसंग ने फिलहाल कोई आधिकारिक जानकारी शेयर नही की है।





















