
अब तक आपने Foldable डिसप्ले वाला फोन देखा है लेकिन आशा है कि जल्द ही Rollable फोन देखने को मिले। सबसे खास बात यह कही जा सकती है फोल्ड के बाद रोलेबल फोन की शुरुआत भी Samsung द्वारा ही की जा सकती है। रोलेबल फोन अर्थात फोन की स्क्रीन कागज की तरह रोल होकर एक छोटी सी जगह में आ जाएगी। वैसे तो पिछले साल ही कंपनी ने अपने इस रोलेबल फोन के बारे में थोड़ी जानकारी दी थी लेकिन उस दौरान लॉन्च को लेकर कोई बात नहीं कही गई थी। वहीं अब Samsung Rollable फोन को लेकर तीन नए पेटेंट सामने आए हैं जिन्हें देखकर यही आशा की जा सकती है कि शायद कंपनी जल्द ही नए फॉर्म-फैक्टर वाला फोन लॉन्च करने वाली है।
कैसे होंगे Samsung Rollable फोन
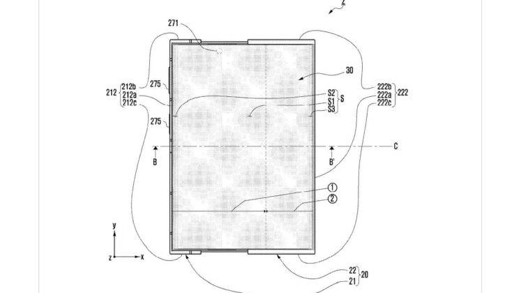
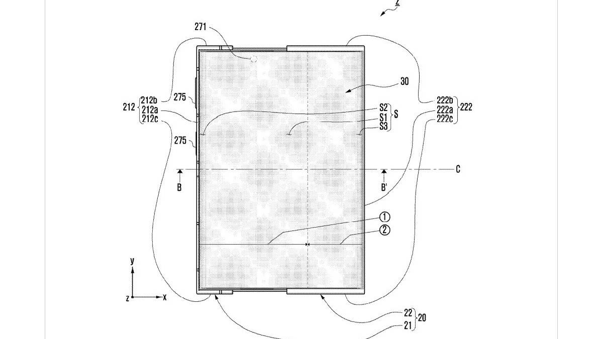
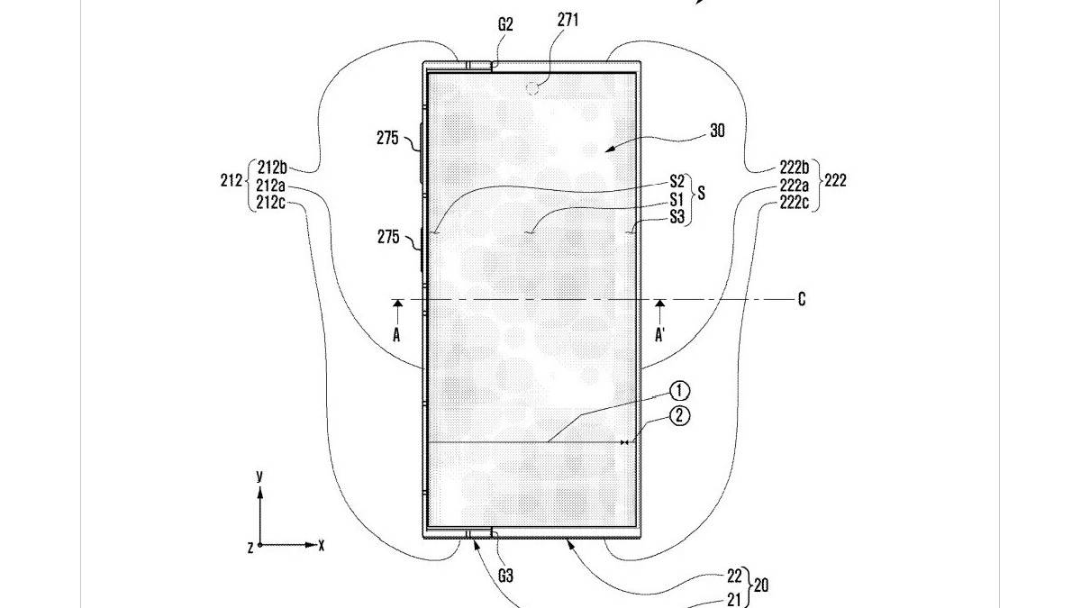
जैसा कि मैंने बताया कि कंपनी ने तीन नए डिजाइन को पेटेंट किया है जिसमें पहला जो डिजाइन है उसमें फोन की स्क्रीन वर्टिकली अर्थात नीचे से Roll हो रही है। ऐसे में फोन की चौड़ाई तो वही रहेगी लेकिन लंबाई कम हो जाएगी और वह एक छोटा सा डिवाइस बन जाएगा। जब भी बड़ी स्क्रीन की जरूरत हो आप रोल को खोलकर उस पर अपना काम कर पाएंगे। हालांकि स्टाइल अलग होगा लेकिन यह डिजाइन बिल्कुल वैसा ही लगेगा जैसे सैमसंग का फ्लिप फोन, एक में फ्लिप है जबकि दूसरे में रोलेबल डिसप्ले। इसे भी पढ़ें : [Exclusive] 3 कलर में लॉन्च होगा Samsung Galaxy M13 5G, मास प्रोडक्शन इंडिया में हुआ शुरू
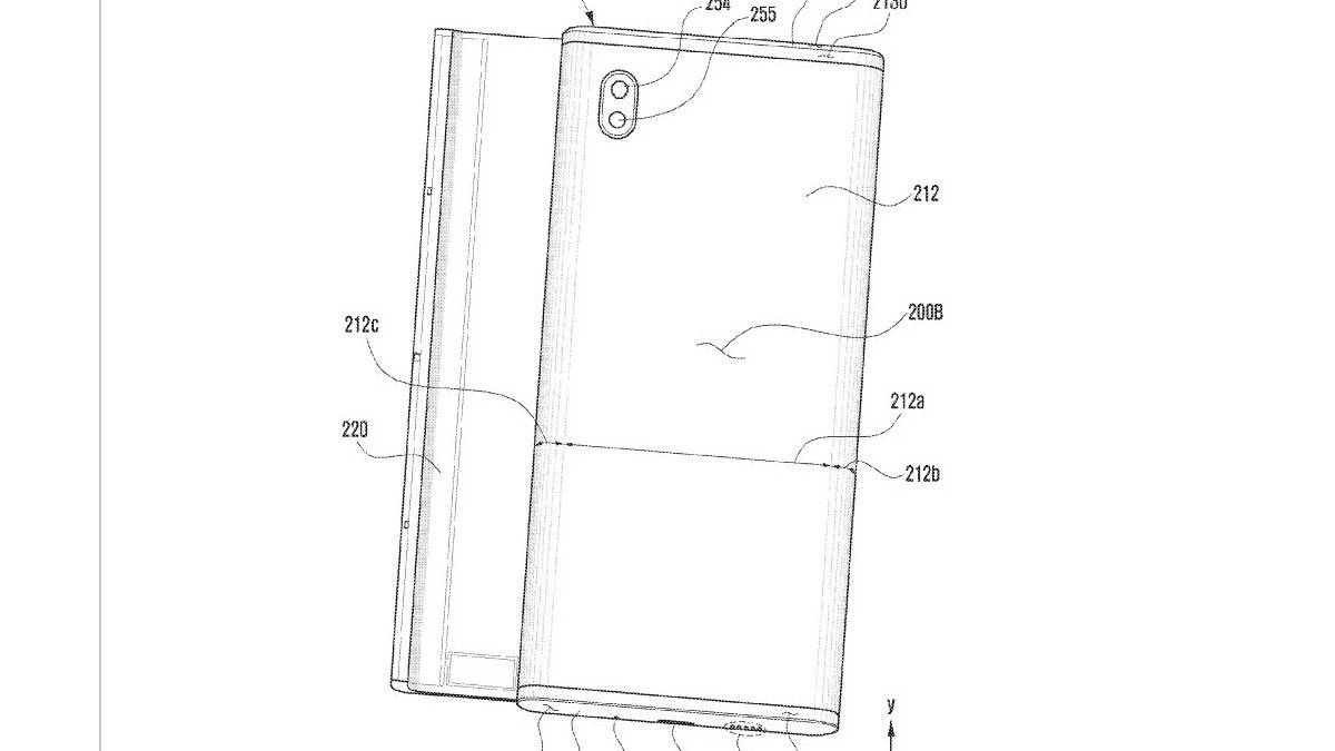
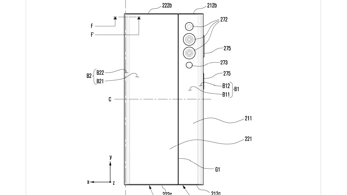
वहीं दूसरे पेटेंट की बात करें तो उसमें डिसप्ले साइड में रोल हो रहा है। इसमें लंबा नहीं चौड़ा होकर बड़ा होगा। ऐसे में फोन टैबलेट के समान बड़ा दिखाई देगा और यह डिजाइन इंटरटेनमेंट कंटेंट के लिए भी काफी बेहतर माना जाएगा। यह उन यूजर्स के लिए बेहतर माना जाएगा जो मोबाइल में ज्यादा मूवी देखते हैं, यूट्यूब का उपयोग करते हैं या फिर गेमिंग पसंद करते हैं।
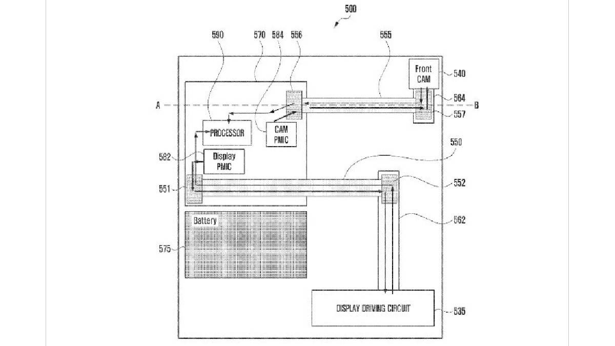
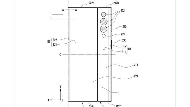
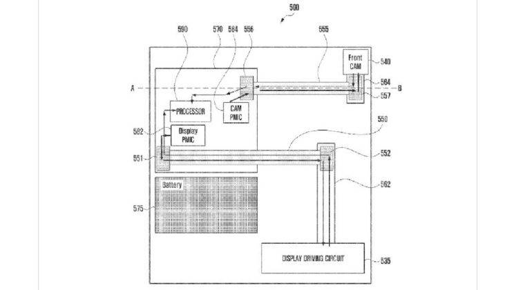
वहीं सैमसंग के तीसरे रोलेबल पेटेंट डिजाइन पर नज़र डालें तो उसमें भी स्क्रीन साइड से ही रोल हो रहा है लेकिन यह पेटेंट मुख्य रूप से फोन और उसके कम्पोनेंट्स के कनेक्टिविटी को लेकर है। इसमें दिखाया गया है कि जब स्लाइड होकर स्क्रीन बाहर निकलेगा तो कैमरा और दूसरे कम्पोनेंट्स कैसे कनेक्ट रहेंगे और काम करते रहेंगे। इसके साथ ही पेटेंट में यह भी दिखाया गया है कि स्लाइड के दौरान खाली स्थान को कैसे सरल बनाया जाए और पावर की खपत भी कम से कम हो सके।
क्या Rollable Phone यूज के लायक होंगे
अब तक हमने फोल्डेबल फोन देख लिया है। लगभग तीन साल पहले फोल्डेबल फोन की शुरुआत हुई थी लेकिन अब तक ये डिजाइन बहुत ज्यादा उपयोग में नहीं आ पाए हैं। ऐसे में रोलेबल डिजाइन को लेकर यह सवाल जरूर उठेगा कि क्या इस डिजाइन को लोग स्वीकार करेंगे। तो आपको बता दूं कि ऐसा नहीं है कि फोल्डेबल फोन की मांग नहीं है। अब तक सैमसंग का Galaxy Z Flip 3 और Z Fold 3 के 7 मिलियन यानी कि 70 लाख से ज्यादा यूनिट बिक चुके हैं। यानी कि फोल्डेबल फोन की मांग है लेकिन फिलहाल थोड़े महंगे हैं इसलिए आप लोगों की पहुंच से दूर है। जब यह तकनीक सस्ती हो जाएगी तो लोग इसका उपयोग काफी करेंगे। इसे भी पढ़ें : OnePlus ने महंगाई में दी बड़ी राहत, 12000 रुपये सस्ता हुआ ये तगड़ा स्मार्टफोन

इसी तरह Rollable Phone की बात की जाए तो वहीं भी कुछ ऐसी ही उम्मीद है। जैसा कि आप जानते हैं कि कोई भी नई तकनीक जब नई होती है तो वह महंगी होती है लेकिन जैसे-जैसे पुरानी होती जाती है और मास प्रोडक्शन होने लगता है तब वह सस्ती हो जाती है और आम लोगों तक पहुंच जाती है। रोलेबल फोन से भी यही उम्मीद है। इसमें कोई दो राय नहीं कि शुरुआत में यह महंगी होगी और आम लोगों की पहुंच से दूर होगी लेकिन समय के साथ सस्ती होकर आम लोगों के हाथों में दिखने लगेगी।
फिलहाल रोलेबल स्क्रीन वाले डिवाइस की बात करें तो सैमसंग ने जहां सिर्फ अब तक अपने फोन का टीज़र जारी किया है। वहीं एलजी ने अपने रोलेबल टीवी को दो साल पहले ही लॉन्च कर बाजार को इस तकनीक से रू-ब-रू करा दिया है।



















