
सैमसंग कंपनी आने वाली 20 फरवरी को सैन फ्रांसिस्को में एक बड़े ईवेंट का आयोजन करने जा रही है। चर्चा है कि इस दिन एक ओर जहां गैलेक्सी एस10 सीरीज़ के पर्दा उठाया जाएगा वहीं साथ ही सैमसंग अपना बहुप्रतीक्षित डिवाईस फोल्डेबल स्मार्टफोन भी दुनिया के सामने पेश कर सकती है। सैमसंग ने हालांकि अभी तक अपने फोल्डेबल स्मार्टफोन के लॉन्च को लेकर कोई जानकारी नहीं दी है लेकिन 20 फरवरी वाले ईवेंट से पहले ही कंपनी का यह अनूठा फोल्डेबल डिवाईस चीन की सरकारी वेबसाइट पर देखा गया है। इस लिस्टिंग ने सैमसंग के फोल्डेबल फोन के लॉन्च की चर्चा को और भी पुख्ता कर दिया है।
और भी ताकतवर होगा सैमसंग गैलेक्सी ए7 (2018), सबसे नए एंडरॉयड से होगा लैस
सैमसंग अपने फोल्डेबल स्मार्टफोन को गैलेक्सी एफ नाम के साथ लॉन्च कर सकती है। एक ताजा मीडिया रिपोर्ट में सामने आया है कि सैमसंग गैलेक्सी एफ फोन चीन की मिनिस्ट्री ऑफ इंडस्ट्री एंड इंर्फोमेशन टेक्नोलॉजी (सीएमआईआईटी) पर लिस्ट किया गया है। सरकारी वेबसाइट की इस लिस्टिंग ने ओर जहां यह साफ कर दिया है सैमसंग का फोल्डेबल अब जल्द ही बाजार में कदम रख सकता है वहीं दूसरी ओर यह भी पता चला गया है कि गैलेक्सी एफ चीन में भी लॉन्च किया जाएगा।

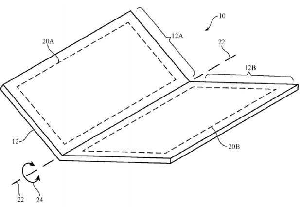
सैमसंग गैलेक्सी एफ को चीनी वेबसाइट पर एसएम-एफ9000 मॉडल नंबर के साथ लिस्ट किया गया है। यहां गैलेक्सी एफ का यूएस मॉडल, यूरोपीयन मॉडल तथा एशियन मॉडल भी मौजूद है। सीएमआईआईटी की लिस्टिंग में सैमसंग गैलेक्सी एफ की उपस्थिति तो दर्ज हो गई है लेकिन फोन की स्पेसिफिकेशन्स की जानकारी नहीं मिल पाई है। वहीं पहले सामने आए लीक्स की बात करें तो सैमसंग अपने फोल्डेबल फोन को 7.3-इंच की एमोलेड डिसप्ले पर लॉन्च कर सकती है जो मुड़ने के बाद 4-इंच की सेकेंडरी डिसप्ले में तब्दील होगा।
अब तक का सबसे स्टाइलिश फोन मोटोरोला मोटो रेज़र एक बार फिर मार्केट में करेगा वापसी
सैमसंग फोल्डेबल फोन के लिए कहा जा रहा है कि फोन में 512जीबी की इंटरनल स्टोरेज दी जाएगी तथा यह फोन क्वालकॉम के आने वाले सबसे नए और ताकतवर चिपसेट स्नैपड्रैगन 855 पर रन करेगा। गौरतलब है कि एक विदेशी मीडिया रिपोर्ट यह दावा कर चुकी है कि सैमसंग अपने फोल्डेबल फोन को 2 मिलियन वॉन में लॉन्च करेगी। यह कीमत भारतीय करंसी अनुसार 1 लाख 25 हजार रुपये के करीब होगी
सैमसंग के वरिष्ठ अधिकारी डी जे कोह एक इंटरव्यू में बता चुके हैं कि कंपनी का फोल्डेबल डिवाईस टैबलेट और फोन दोनों का काम करेगा। यह डिवाईस टैबलेट का आकार का होगा लेकिन यूजर इसे फोल्ड कर यानि मोड़ कर किसी फोन की तरह अपनी पॉकेट में भी डाल सकेंगे। कोह के अनुसार सैमसंग का फोल्डेबल डिवाईस यूजर्स को मल्टीटास्क करने में बेहद उपयोगी साबित होगा। वहीं इस डिवाईस में पतली बॉडी के साथ ही बड़ी बैटरी देखने को मिल सकती है।
4जीबी रैम और एंडरॉयड पाई के साथ आएगा गैलेक्सी ए40, बेंचमार्किंग साइट पर हुआ लिस्ट
सैमसंग का कहना है कि यह डिवाईस मल्टी टास्किंग के साथ ही इज़ी पॉर्टबिलिटी वाला होगा। यानि यूजर्स टैबलेट के रूप में इस पर अपने कार्य भी निपटा सकेंगे और एक आम फोन की तरह अपनी जेब में भी रख कर सफर भी कर सकेंगे। फिलहाल इस बात की पूरी उम्मीद है कि सैमसंग 20 फरवरी को सैन फ्रांसिस्को में आयोजित होने वाले अपने ‘गैलेक्सी अनपैक्ड’ ईवेंट में अपना फोल्डेबल फोन पेश कर सकती है।























Comments are closed.